Chinese semiconductor industry

Status
Not open for further replies.

henrik

Senior Member
Registered Member
Thanks again. Great analysis as usual. I would never call you a finwit! A term I associate with certain twitter users that think they know everything about subject that they've never looked into.

I do get confused why the US gov't is so interested in putting sanctions on Chinese display equipment when there is no obvious national security or even commercial reasons to do so. Seems like a rather suicidal things to do that will just hurt AMAT more. Although, I have not looked enough into Chinese alternatives here to know what kind of options BOE has domestically. @tokenanalyst and @PopularScience ?
It was never about national security, technology or even money at all, starting from Huawei 5G ban. National security was used as an excuse to contain China's growth. They are going to use all methods, including disrupting China's food and energy supply chains. China should get ready for this possibility.
 

Weaasel

Senior Member
Registered Member
Agree. in the ideal world everyone would specialize in what their do best, some countries in capital equipment, some companies in IP and others in manufacturing. in the case of Huawei should be only communications, now they are regretting not getting into semiconductor manufacturing sooner, now they have to made it from the ground up with local tools. In a perfect world Huawei shouldn't have to make thier own foundries but now is a life or death situation.
I most definitely do not agree with the doctrine of comparative advantage. Following it will ensure that certain countries and locations largely remain poor by focusing mostly or indeed entirely on low or even zero value added economic activity such as subsistence agriculture, while others will be much more wealthy producing the machinery that produce the machines and consumer goods that much more value added and bring much greater wealth to countries and locations that do so... Strictly following the theory of comparative advantage is not in the interests of any country...

It is in the interest of every country to have a significant mix and indeed actually have a significant modicum of value added manufacturing equipment and as much as possible maximize what it can potentially produce in terms of capital goods.

Countries like China, the United States, and even India, Russia, and Brazil do have the realistic wherewithal to produce all manner of capital goods and have significant market for them domestically. Countries like Haiti and Senegal realistically cannot have the full manufacturing supply chain for semiconductors and IC chips starting from smelting silicon, through photoresist production, lithography machines, and metrological equipment. But there is no reason why they shouldn't be able to produce steel, basic oxygen furnaces, discrete electronics, glass and textiles, and most textiles and glass producing machinery and a large share of or the majority of components of machinery for glass and textiles making machinery...
 

FairAndUnbiased

Brigadier
Registered Member
I most definitely do not agree with the doctrine of comparative advantage. Following it will ensure that certain countries and locations largely remain poor by focusing mostly or indeed entirely on low or even zero value added economic activity such as subsistence agriculture, while others will be much more wealthy producing the machinery that produce the machines and consumer goods that much more value added and bring much greater wealth to countries and locations that do so... Strictly following the theory of comparative advantage is not in the interests of any country...

It is in the interest of every country to have a significant mix and indeed actually have a significant modicum of value added manufacturing equipment and as much as possible maximize what it can potentially produce in terms of capital goods.

Countries like China, the United States, and even India, Russia, and Brazil do have the realistic wherewithal to produce all manner of capital goods and have significant market for them domestically. Countries like Haiti and Senegal realistically cannot have the full manufacturing supply chain for semiconductors and IC chips starting from smelting silicon, through photoresist production, lithography machines, and metrological equipment. But there is no reason why they shouldn't be able to produce steel, basic oxygen furnaces, discrete electronics, glass and textiles, and most textiles and glass producing machinery and a large share of or the majority of components of machinery for glass and textiles making machinery...
the supply chain for even steel is extremely complex. Haiti and Senegal will never have a domestic steel plant. take a look at what goes into a basic oxygen furnace, or a gas turbine, power loom, combustion engine, generator, transformer or any of the other technologies from 100 years ago. you'd be surprised how complex they are and how unintuitive they behave.

it is like writing. there were only 4 independent writing systems ever invented: cuneiform (extinct), Phonecian alphabet, Indic script and Chinese characters. All other scripts are derivatives of these. For most of history, only very few regions were literate. Even as late as 1000 AD, the only places with >20% literacy were Central America, Europe (West of Germany), Middle East (Greece/Persia/Arabia/Egypt), Indian subcontinent and East Asia (China/Japan/Korea/Vietnam), the rest of the world was illiterate and barbaric.

In any given age, only a small selection of countries have the capability to master the latest technologies like agriculture, writing, wheels... steel, engines... semiconductors, software. Most countries in this world are currently, with no external inputs, capable of sustaining only a feudal era level of technology.
 

sunnymaxi

Colonel
Registered Member
Equipment is not the bottleneck. I more worry about the OLED organic material from Japan.

Please, Log in or Register to view URLs content!
No need to worry.

Organic luminescent materials are the most important materials in OLED devices. Generally, luminescent materials have high luminous efficiency and good electron or hole transmission properties.Due to the high technical barriers, most manufacturers focus on OLED intermediates and front-end materials (crude products), and there are fewer companies in the industry that can provide terminal materials (sublimated products). With the rise of the domestic OLED industry, the degree of competition in this field has gradually increased.

At present, manufacturers are mainly concentrated in well-known foreign material manufacturers, including Merck in Germany, Dow in the United States, Izumo Xingsan in Japan and other companies.Domestic material manufacturers have continuously increased their investment in research and development in recent years, and have made efforts to narrow the technical level differences with foreign countries.

Jilin Aolaide Photoelectric Materials Co., Ltd. (hereinafter referred to as Aolaide) was established in June 2005. Its main business mainly includes terminal materials for organic luminescent materials and evaporation source equipment. It was listed on the Science and Technology Innovation Board of the Shanghai Stock Exchange on September 3, 2020.

At present, Olade has provided organic luminescent materials to well-known OLED panel manufacturers such as Visionox, Hehui Optoelectronics, TCL Huaxing, BOE, Shenzhen Tianma, Xinli, etc., and announced in mid-December 2021 that it won the bid for BOE Chongqing's 6th generation AMOLED (flexible) production line project with a large order of 111 million yuan.
In terms of production capacity, Olade has built a world-class OLED advanced material factory with an annual output of 10,000 kg of high-performance luminous materials for AMOLED in Jinshan, Shanghai, and the construction of the project is progressing in an orderly manner.

According to Orade's 2021 performance forecast, it is expected that the company's net profit attributable to the owner of the parent company in 2021 will be 130-137 million yuan, an increase of 80.77%-90.50% year-on-year from the previous year.The large increase in net profit was mainly due to the large increase in sales of organic luminescent materials and evaporation source equipment compared with the same period last year.

Shaanxi Wright Optoelectronics

On December 28, 2021, according to a news released by the Securities and Exchange Commission, the Securities and Exchange Commission agreed to the registration of Shaanxi Wright Optoelectronics Materials Co., Ltd. (hereinafter referred to as Wright Optoelectronics) for the initial public offering of shares on the Science and Technology Innovation Board in accordance with legal procedures.It is understood that the funds raised by Wright Optoelectronics' public offering of shares will be used for the following

projects:

Source: Wright Optoelectronics Science and Technology Innovation Board Initial Public Offering Prospectus
Among them, the total investment in the research and development and industrialization of OLED terminal materials is planned to be 717.8421 million yuan, with a construction period of 3 years. After the completion of the project, the production capacity of 15 tons of OLED terminal materials will be added.

Wright Optoelectronics is mainly engaged in the research and development, production and sales of OLED organic materials (OLED terminal materials and OLED intermediates). The current mass-produced OLED terminal materials are mainly Red Prime materials and hole transport layer materials in the light-emitting layer materials.

At present, Wright Optoelectronics' customers include world-renowned display panel manufacturers such as BOE, Huaxing Optoelectronics, and Hehui Optoelectronics.From January to September 2020, the company's operating income was 218.2232 million yuan, an increase of 21.78% over the same period last year; net profit was 60.8278 million yuan, an increase of 70.02% over the same period last year.

Ningbo Lumilan New Materials Co., Ltd. (hereinafter referred to as Lumilan) specializes in the research and development, manufacturing, sales and service of new OLED materials. The company's products include more than 20 kinds of mass production materials such as charge transfer materials, luminescent materials, main materials, and charge blocking materials.The company has established R&D centers and production bases in Ningbo High-tech Zone and Zhenhai Chemical Park, with an annual production capacity of 10 tons of crude materials and 10 tons of sublimated materials.

It is reported that Ningbo Woyan, an LP of Jinzhi Technology, invested in Lumilan in 2017. Ningbo Woyan currently holds a 22.05% stake in Ningbo Lumilan.Jinzhi Technology said that Lumilan has obvious advantages in the technology and patent research and development of luminescent materials after OLED sublimation, and has strong synergy with Jinzhi Technology's downstream customers and industrialization capabilities. In 2020, it completed a Series B investment with the participation of Xiaomi Yangtze River Industry Fund.

Xi'an Ruilian New Materials Co., Ltd. (hereinafter referred to as Ruilian New Materials) was established in 1999, focusing on research and development, production and sales of special organic new materials. The main products include OLED materials, monomer liquid crystals, and innovative pharmaceutical intermediates, which are directly used in the production of downstream OLED terminal materials, mixed liquid crystals, and APIs.

So far, the company has established long-term and stable cooperative relations with 10 leading international OLED terminal material companies including Idemitsu, Dupont, Merck, Doosan, Duksan, SFC, etc., occupying an important position in the global OLED supply chain system.At present, the company's OLED front-end materials have achieved full coverage of major OLED terminal materials such as light-emitting layer materials and general-purpose layer materials.

According to Ruilian New Materials' 2020 annual report, the revenue share of OLED light-emitting layer materials in 2020 reached 73%.In addition, according to its third quarter report of 2021, the company achieved operating income of 1.133.207 million yuan in the first three quarters of last year, an increase of 55.82% year-on-year; the net profit attributable to shareholders of listed companies was 168.3621 million yuan, an increase of 36.38% year-on-year over the previous year.During the reporting period, the company's sales in all business segments increased to a certain extent, especially the OLED segment sales revenue increased by 84% year-on-year.

Puyang Huicheng Electronic Materials Co., Ltd. (hereinafter referred to as Puyang Huicheng) is mainly engaged in the research and development, production and sales of fine chemicals such as maleic anhydride derivatives and functional material intermediates.Maleic anhydride anhydride derivatives are mainly used in epoxy resin curing, synthesis of polyester resins and alkyd resins, etc., and are widely used in electronic component packaging materials, electrical equipment insulation materials, coatings, composite materials and many other fields.Functional material intermediates are mainly used in organic photoelectric materials and other fields.

In Puyang Huicheng's 2020 annual report, it mentioned that the company will continuously improve the synthesis process of OLED organic photoelectric material intermediates to reduce production costs, and the company will continue to focus on the development of OLED functional materials in the plan, including: OLED photoelectric materials, OLED hole transport materials, electronic transport materials, etc.Continue to improve its market position and product competitiveness in the field of OLED functional materials, and gradually cultivate it into a new profit growth point for the company.
 

mmbro

New Member
Registered Member
Is there an update on this project,?

Chinese scientists say they have created a transistor that will increase the performance of microchips exponentially and dramatically reduce their energy use.
The most advanced computer chips on the market today use seven-nanometre transistors. Professor Yin Huaxiang said his team had developed 3nm transistors – about the width of a human DNA strand – and that tens of billions of them could fit on a fingernail-size chip.
Please, Log in or Register to view URLs content!
 

olalavn

Senior Member
Registered Member
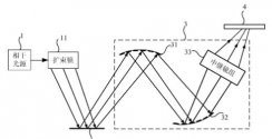
On November 15, 2022, a new Huawei patent was published, providing a mirror, a lithography device and its control method, which can solve the problem that coherent light cannot be uniform due to the formation of a fixed interference pattern.

Patent name: mirror, lithography device and control method thereof

Patent application number: CN202110524685.X

This patent provides a lithography device, which makes the cumulative light intensity of the illumination field of view uniform during the exposure time by continuously changing the interference pattern formed by coherent light, so as to achieve the purpose of uniform light, and then solve the problem of In the related art, the coherent light forms a fixed interference pattern and cannot be homogenizedb0a79ab3gy1h88550fnbfj20dm07smxg.jpgb0a79ab3gy1h8854oyz4vj20dr07x3yl.jpg
 

Weaasel

Senior Member
Registered Member
the supply chain for even steel is extremely complex. Haiti and Senegal will never have a domestic steel plant. take a look at what goes into a basic oxygen furnace, or a gas turbine, power loom, combustion engine, generator, transformer or any of the other technologies from 100 years ago. you'd be surprised how complex they are and how unintuitive they behave.

it is like writing. there were only 4 independent writing systems ever invented: cuneiform (extinct), Phonecian alphabet, Indic script and Chinese characters. All other scripts are derivatives of these. For most of history, only very few regions were literate. Even as late as 1000 AD, the only places with >20% literacy were Central America, Europe (West of Germany), Middle East (Greece/Persia/Arabia/Egypt), Indian subcontinent and East Asia (China/Japan/Korea/Vietnam), the rest of the world was illiterate and barbaric.

In any given age, only a small selection of countries have the capability to master the latest technologies like agriculture, writing, wheels... steel, engines... semiconductors, software. Most countries in this world are currently, with no external inputs, capable of sustaining only a feudal era level of technology.
Countries with smaller demographics than they do have steel making industries, so there is no reason why they eventually shouldn't themselves... In the past information sharing was much less widespread and frequent than it is presently, because of communications advances that have happened especially since the 19th century... One of the reasons why the many of the less developed and underdeveloped countries of the world are as they are presently - there are many - is because they do not have elites at the apex of state administration that are resolute and determined enough to pursue comprehensive socio economic development and industrialization... One can also attribute other things such as Western governments and institutions machinating at various times to ensure that developmentally oriented politicians are prevented from coming to power and the actual insistence on the part of developing countries to follow such policies as liberal free market economics that insist that such countries where they have the resources follow the principles of comparative advantage.
 

ansy1968

Brigadier
Registered Member
On November 15, 2022, a new Huawei patent was published, providing a mirror, a lithography device and its control method, which can solve the problem that coherent light cannot be uniform due to the formation of a fixed interference pattern.

Patent name: mirror, lithography device and control method thereof

Patent application number: CN202110524685.X

This patent provides a lithography device, which makes the cumulative light intensity of the illumination field of view uniform during the exposure time by continuously changing the interference pattern formed by coherent light, so as to achieve the purpose of uniform light, and then solve the problem of In the related art, the coherent light forms a fixed interference pattern and cannot be homogenizedView attachment 101962View attachment 101963

Sir What happen to this patent filed by Huawei 6 years ago, there is another one design by a Frenchman who work as an Engineer.

Huawei applied for patents on lithography equipment and systems four years ago​

Please, Log in or Register to view URLs content!
Jul 22, 2020 18:51 GMT+8



Huawei applied for patents on lithography equipment and systems four years ago-CnTechPost

Huawei is reportedly recruiting lithography process engineers, which has sparked widespread interest. In fact, Huawei has already applied for patents for a lithography device and a lithography systems, which seem to have been prepared for the chip manufacturing process for a long time.

According to data provider Qichacha, Huawei's two patents were filed back in September 2016 and parts of them were made public in June 2018 and January 2020, respectively.



Huawei applied for patents on lithography equipment and systems four years ago-CnTechPost

Lithography and photolithography are among the world's top technologies, and only a handful of companies worldwide have mastered the technology.
Huawei applied for patents on lithography equipment and systems four years ago-CnTechPost

Considering that Huawei is recruiting lithography process engineers, it safe to say that Huawei does indeed have a long history of research in the chip manufacturing process.
In addition, there are reports that Huawei HiSilicon semiconductor is still in the process of expansion, is not considering scaling down.
Instead, it's actively looking for foundries to create a design and manufacturing integrated IDM.



Huawei applied for patents on lithography equipment and systems four years ago-CnTechPost

Although Huawei HiSilicon is one of the world's top chip design companies, it is still very dependent on TSMC and a few other semiconductor companies for chip manufacturing.
Huawei's entry into the chip manufacturing field, therefore, will certainly face many difficulties, but this is also believed to be the most correct road.
It will take a long time for Huawei's IDM model to mature, and before that Huawei's various businesses will likely be looking for third-party chip supplies.
Huawei HiSilicon could have met about 80% of Huawei's mobile phone chip supply, but because of the U.S. ban, the company may have to use a lot of MediaTek chips.
 

olalavn

Senior Member
Registered Member

Sir What happen to this patent filed by Huawei 6 years ago, there is another one design by a Frenchman who work as an Engineer.

Huawei applied for patents on lithography equipment and systems four years ago​

Please, Log in or Register to view URLs content!
Jul 22, 2020 18:51 GMT+8



Huawei applied for patents on lithography equipment and systems four years ago-CnTechPost

Huawei is reportedly recruiting lithography process engineers, which has sparked widespread interest. In fact, Huawei has already applied for patents for a lithography device and a lithography systems, which seem to have been prepared for the chip manufacturing process for a long time.

According to data provider Qichacha, Huawei's two patents were filed back in September 2016 and parts of them were made public in June 2018 and January 2020, respectively.



Huawei applied for patents on lithography equipment and systems four years ago-CnTechPost

Lithography and photolithography are among the world's top technologies, and only a handful of companies worldwide have mastered the technology.
Huawei applied for patents on lithography equipment and systems four years ago-CnTechPost

Considering that Huawei is recruiting lithography process engineers, it safe to say that Huawei does indeed have a long history of research in the chip manufacturing process.
In addition, there are reports that Huawei HiSilicon semiconductor is still in the process of expansion, is not considering scaling down.
Instead, it's actively looking for foundries to create a design and manufacturing integrated IDM.



Huawei applied for patents on lithography equipment and systems four years ago-CnTechPost

Although Huawei HiSilicon is one of the world's top chip design companies, it is still very dependent on TSMC and a few other semiconductor companies for chip manufacturing.
Huawei's entry into the chip manufacturing field, therefore, will certainly face many difficulties, but this is also believed to be the most correct road.
It will take a long time for Huawei's IDM model to mature, and before that Huawei's various businesses will likely be looking for third-party chip supplies.
Huawei HiSilicon could have met about 80% of Huawei's mobile phone chip supply, but because of the U.S. ban, the company may have to use a lot of MediaTek chips.
1/ at the time, they didn't know what happened... they haven't made it public yet.... thanks to U.S. lawmakers and think tanks... they've publicly invested in semiconductors...
2/ Hisilicon's responsibility after 2024, they will be bigger than a normal chip designer, Huawei is pushing them into the whole semiconductor industry...
 
Status
Not open for further replies.
Top